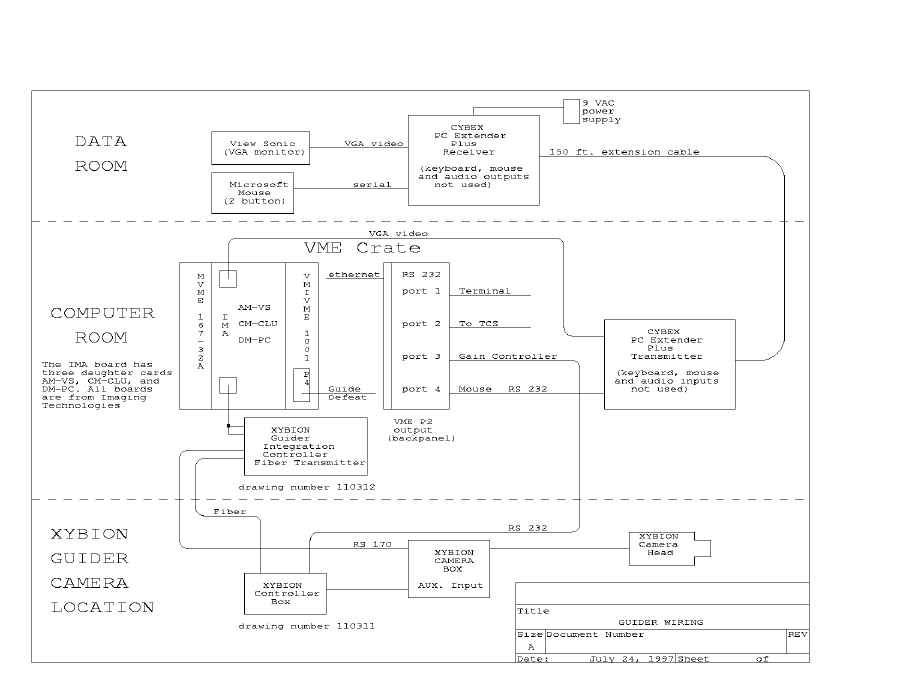
The wiring diagram of the Palomar Autoguider.
Bill Douglas (
brd@astro.caltech.edu
).